一、概述
NBKVHP型气动精小型单座调节阀和NBKVHM型气动精小型套筒调节阀又是其中可供用户选用通用产品之一,它广泛用于一般流体介质的工艺过程控制。
单座调节阀(A) 套筒调节阀(B)
二、工作原理和结构
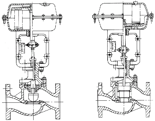
NBKVHP型气动单座调节阀由ZHA(B)型气动多弹簧薄膜行机构和VJP型低流阻直通单座阀组成。见图1(a)。
NBKVHM型套筒调节阀由ZHA(B)型气动多弹薄膜执行机构和VJM型低流阻套筒阀组成见图1(b)。
外来的气动信号压力输入膜室后,此压力作用在膜片上产生推力,此力压缩弹簧组,并使推杆移动而带动阀杆使阀芯开关,直至推力与弹簧组被压缩后的反力平衡而稳定在某个行程上为止。依照上述原理,阀芯的行程大小与输入信号压力的大小形成一定的比例关系。
气动多弹簧薄膜执行机构按作用方式可分为正作用式和反作用式两种。当信号压力增加时,推杆往伸出膜室的方向动作的执行机构为正作用式,型号为ZHA型。当信号压力增加时,推杆往退进膜室的方向动作的执行机构为反作用式,型号为ZHB型。它们分别如图1(a)和图1(b)中的执行机构所示。
NBKVHP型和NBKVHM型气动调节阀按照开关方式的不同可分为气关式和气开式两种。气关式阀由正作用执行机构和阀构成。当输入信号压力由下限值改变为上限值时,阀从全开到全关。气开式阀由反作用执行机构和阀组成,当输入信号压力由下限值改变为上限值时,阀从全关到全开。它们分别如图1(a)和图1(b)所示。
气动多弹簧薄膜执行机构高度矮、重量轻、装校简便。它由膜片、压缩弹簧、托盘、推杆、支架、轴套、膜盖等主要零件构成。膜片为较深的盆形,有效面积变化小,并采用优质橡胶,在-40℃至+85℃温度下使用,操作如常。压缩弹簧采用多根组合的形式。以减少高度、推杆的导向表面精细加工,提高硬度和降低粗糙度,达到减小回差和增加密封性的效果。反作用式执行机构采用O形密封圈型式,与推杆、轴套配合,结构简单,密封可靠,通过正确的设计和精确的加工,本机构省去了压缩弹簧的调节结构,可一次装成,减小调正的麻烦。推杆与阀杆的连接采用开缝螺母,装卸灵活。
低流阻直通单座阀和套筒阀结构简单紧凑,并具有相当大的流量系数。本阀采用了直通单座无底盖顶导向结构的阀体型式,体积小、重量轻、流道设计流畅,具有高效的特点。阀体和配管的连接形式采用凸面和凹凸面法兰,适应不同的公称压力。阀体分普通型和高温型两种型式,用于不同的工作温度。单座阀阀芯形式为上导向柱塞阀,套筒阀芯为圆柱型,由套筒的内圆导向,套筒经精密加工开出一定特性的窗孔。它们均具有精确的流量特性,符合IEC标准和国家标准规定的斜率偏差考核要求。标准型填料为聚四氟乙烯成型填料,根据现场使用要求还可选用柔性石墨特种填料。
三、主要零件材料
阀体、阀盖:HT200、ZG25I、ZG1Cr18Ni9、ZGOCr17Ni12Mo2、铬钼钢(1.25Cr0.5Mo、5.0Cr0.5Mo、SCPH21、钛Ti)。
阀内件:1Cr18Ni9(需要特殊材料或硬化处理可与厂方商洽)
五、主要技术数据
1、主要技术性能指标
| 项目 | 指标 |
| 泄漏量 | 单座:金属阀座:IV级,小于额定流量的10-4软阀座:VI级,小于额定流量的10-7 套筒 :单密封型 IV级,小于额定流量的 10-4;双密封型Ⅲ 级,小于额定流量的 10-3。 符合GB4213-92标准 |
| 基本误差 | ±2.5% |
| 回 差 | 2.0% |
| 死 区 | 3.0% |
| 始终点偏差 | ±2.5% |
| 额定行程偏差 | 2.5% |
2、规格和技术参数
| 公称通径 mm | G3/4″ | 20 | 25 | 40 | 50 | 65 | 80 | 100 | 125 | 150 | 200 |
| 阀座直径 | 3/4/5/6/7/8 | 10 | 12 | 15 | 20 | 25 | 32 | 40 | 50 | 65 | 80 | 100 | 125 | 150 | 200 |
| 额定流量系数KV | 单座 | 直线 | 0.08/0.22/ 0.20/0.32/ 0.50/0.80 | 1.8 | 2.8 | 4.4 | 6.9 | 11 | 17.6 | 27.5 | 44 | 69 | 110 | 176 | 275 | 440 | 690 |
| 等百分比 | 1.6 | 2.5 | 4 | 6.3 | 10 | 16 | 25 | 40 | 63 | 100 | 160 | 250 | 400 | 630 |
| 套筒 | 直线 | | | | | | 6.9 | 11 | 17.6 | 27.5 | 44 | 69 | 110 | 176 | 275 | 400 | 630 |
| 等百分比 | | | | | | 6.3 | 10 | 16 | 25 | 40 | 63 | 100 | 160 | 250 | 360 | 570 |
| 额定行程 | 10 | 16 | 25 | 40 | 60 |
| 公称压力 Mpa | 单座、套筒:1.6、4.0、6.4 |
| 阀体、阀盖 | WCB、ZG1Cr18Ni9Ti、 CF8M、CF3M、316、316L、耐腐蚀合金等。 |
| 阀芯、阀座 | 1Cr18Ni9Ti、 316、316L;钛,耐腐蚀合金,不锈钢堆焊司太莱合金等。 |
| 阀芯形式 | 单座:金属阀座:IV级,小于额定流量的10-4 软阀座:VI级,小于额定流量的10-7 套筒:单密封—单座套筒式柱塞型阀芯; 双密封—双座套筒式柱塞型阀芯。 |
| 填料材质 | 聚四氟乙烯、柔性石墨、不锈钢波纹管 |
| 流量特性 | 直线、等百分比、快开特性 |
| 作用形式 | 电开式、电关式 |
工作温度 | 普通型:铸铁-20~200℃,铸钢-40~250℃,铸不锈钢-60~250℃ 散热片型:铸钢-40~450℃,铸不锈钢-60~450℃,特殊订货:450~600℃, 低温型:ZG1Cr18Ni9Ti(-196℃)、CF8M、CF3M(-253℃) |
| 可调范围 | 单座30:1、50:1;套筒30:1、50:1 |
| 工作条件 | 温度:-25℃~+55℃ 相对湿度:5%~100% |
3、允许压差
选用调节阀,除考虑上述条件外,还应注意到从推力角度出发,调节阀能否正常工作的问题,用特征数值表达就是允许是否大于最大工作压差,所以在选用时要使最大工作压差小于调节阀的允许压差。
公称通径(mm) | 20 | 25 | 40 | 50 | 65 | 80 | 100 | 125 | 150 | 200 |
阀座直径(mm) | 10 | 12 | 15 | 20 | 25 | 32 | 40 | 50 | 65 | 80 | 100 | 125 | 150 | 200 |
允许压差 (Mpa) | 单座式 | 6.4 | 4.5 | 2.5 | 3.2 | 3.2 | 2.15 | 1.4 | 1.37 | 0.94 | 0.6 | 0.52 | 0.32 | 0.2 |
套筒式 | | 6.4 | 3.7 | 3.7 | 2.4 | 2.4 | 1.5 | 0.8 | 3.1 | 3.1 | 3.1 |

表2 ZH 型气动弹簧薄膜执行机构规格和技术参数表
#20~100Kpa为标准弹簧范围
五、主要技术性能指标及检验
| 项 目 | 指标值 | | 项 目
| 指标值 |
| 基本误差 % | 不带定位器 | ±5.0 | 始 终 点 偏 差 % | 气关 | 不带定位器 | 始点 | ±5.0 |
| 带定位器 | ±1.0 | 带定位器 | 始点 | ±1.0 |
| 终点 | ±1.0 |
| 回 差 % | 不带定位器 | 3.0 | 气开 | 不带定位器 | 始点 | ±2.5 |
| 终点 | ±5.0 |
| 带定位器 | 1.0 | 带定位器 | 始点 | ±1.0 |
| 终点 | ±1.0 |
| 死 区 % | 不带定位器 | 3.0 | 允许泄漏量 1/h | 单座式 | 1×10-4×阀额定容量 |
| 带定位器 | 0.4 |
| 额定行程偏差 % | ±2.5 | 套筒式 | 1×10-3×阀额定容量 |
| 额定流量系数 % | ±10 |
| 固有流量特性 % | 斜率±30 |
六、应用数据资料
1、 流量特性
本产品主要有两种固有流量特性可供选择:直线和等百分比。通过精心的设计和制造,保证了产品精确的流量特性,它符合于IEC标准用斜率法考核的要求,以促进在使用中取得高质量的控制效果。本流量特性按照可调比R50设计而成,与R30的产品相比,扩大了有单阀实现对宽负荷变动控制的可能性,并且也更适合于大多数阀与系统压降比小的系统上使用。
2、 工作压力与温度关系
根据工艺介质的最大工作压力来选定调节阀的公称压力时,必须确定介质工作温度的条件,因为公称压力是在一定的基准温度下依据强度条件定出的。一旦工作温度超过了基准温度,允许的最大工作压力必定低于公称压力。这一点应该引起足够注意。具体的两者关系见表4所列。
3、 允许压差
选用调节阀除考虑其它条件外,还应注意到从推力角度出发。调节阀能否正常动作的问题。用特征数
据表达。就是允许压差是否大于最大的工作压差。
调节阀产品为了提高标准化、通用化、系列化的程度。执行机构部件和阀件均有一套标准的组合。主种组合下规定的允许压差通常都能适用于一般工艺过程的工作压差条件。具体数据详见表5。
表4 许用介质压力和工作温度关系
阀体材质 | 公称压力 Mpa | 介质工作温度 ℃ |
| <120 | <200 | <250 | <300 | <350 | <400 | <425 | <435 | <450 |
| 最大工作压力 Mpa |
| HT200 | 0.6 | 0.6 | 0.55 | 0.5 | | | | | | |
| 1.6 | 1.6 | 1.5 | 1.4 | | | | | | |
| ZG230-500 | 0.6 | | 0.6 | 0.56 | 0.5 | 0.45 | 0.4 | 0.36 | 0.32 | 0.3 |
| ZG1Cr18Ni9Ti | 1.6 | 7 | 1.6 | 1.4 | 1.25 | 1.1 | 1.0 | 0.9 | 0.8 | 0.75 |
ZG0Cr18Ni12Mo2Ti | 4.0 | | 4.0 | 3.6 | 3.2 | 2.8 | 2.5 | 2.2 | 2.0 | 1.9 |
| 6.4 | | 6.4 | 5.6 | 5.0 | 4.5 | 4.0 | 3.6 | 3.2 | 3.0 |
注:1、当工作温度为表中温度级之中间值时,可采用内插法决定最大工作压力。
2、当阀中主要零件所用材料的机械性能和温度限低于表列材料时,不能使用本表。
表5 NBKVHP/M气动单座/套筒调节阀允许压差表 单位:Mpa
| 类 别 | 单 座 式 | 套 筒 式 |
| 弹簧范围 Kpa | 20~100 | 40~200 | 80~240 | 20~100 | 40~200 | 80~240 |
| 气源压力 Mpa | 0.14 | 0.25 | 0.4 | 0.14 | 0.25 | 0.4 |
| 公称通径 (mm) | 阀座 直径 | 气关 | 气开 | 气关 | 气开 | 气关 | 气开 | 气关 | 气开 | 气关 | 气开 | 气关 | 气开 |
| 20 | 10 | 6.4 | 4.46 | 6.4 | 6.4 | 6.4 | 6.4 | | | | | | |
| 12 | 6.4 | 3.09 | 6.4 | 6.4 | 6.4 | 6.4 |
| 15 | 5.94 | 1.98 | 6.4 | 5.94 | 6.4 | 6.4 |
| 20 | 3.34 | 1.11 | 6.4 | 3.34 | 6.4 | 6.4 |
| 25 | 25 | 2.14 | 0.71 | 6.4 | 2.14 | 6.4 | 4.99 | 3.0 | 1.5 | 6.4 | 4.5 | 6.4 | 6.4 |
| 32 | 32 | 1.31 | 0.44 | 6.09 | 1.37 | 6.4 | 3.05 | 2.25 | 1.13 | 6.4 | 3.38 | 6.4 | 6.4 |
| 40 | 32 | 1.31 | 0.44 | 6.09 | 1.37 | 6.4 | 3.05 |
| 40 | 0.84 | 0.28 | 3.9 | 0.84 | 5.26 | 1.95 |
| 50 | 50 | 0.53 | 0.18 | 2.5 | 0.53 | 3.39 | 1.25 | 1.95 | 1.18 | 6.4 | 3.54 | 6.4 | 6.4 |
| 65 | 65 | 0.51 | 0.17 | 2.36 | 0.51 | 3.21 | 1.18 | 2.36 | 1.02 | 6.4 | 3.06 | 6.4 | 6.4 |
| 80 | 80 | 0.33 | 0.11 | 1.56 | 0.33 | 2.12 | 0.78 | 2.04 | 0.84 | 6.4 | 2.51 | 6.4 | 5.85 |
| 100 | 100 | 0.21 | 0.07 | 1.0 | 0.21 | 1.35 | 0.5 | 1.67 | | 6.4 | | 6.4 | |
| 150 | 125 | 0.22 | 0.07 | 1.02 | 0.22 | 1.39 | 0.51 | 1.41 | 0.71 | 6.4 | 2.12 | 6.4 | 4.94 |
| 150 | 0.15 | 0.05 | 0.71 | 0.15 | 0.97 | 0.35 |
| 200 | 200 | 0.08 | 0.028 | 0.40 | 0.08 | 0.54 | 0.20 | 1.41 | 0.57 | 6.4 | 1.71 | 6.4 | 4.00 |
| 250 | 250 | | | | | | | 1.55 | 0.75 | 5.8 | 1.95 | 6.4 | 3.5 |
| 300 | 300 | | | | | | | 1.2 | 0.3 | 4.5 | 1.5 | 6.4 | 2.8 |
| 350 | 350 | | | | | | | 0.7 | 0.2 | 3.5 | 0.9 | 6.4 | 2.0 |
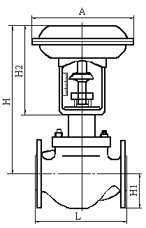
七、尺寸和重量
1、外形尺寸和重量详见表6表7 表8
表6 ZH 型执行机构外形尺寸及重量表
| 型号 | ΦA(mm) | H2(mm) | 重量(Kg) |
 ZH -11 | 236 | 190 | 6 |
 ZH -22 | 285 | 280 | 12 |
 ZH -23 | 285 | 307 | 16 |
 ZH -34 | 360 | 398 | 22 |
 ZH -45 | 470 | 530 | 35 |
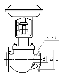
2、法兰连接尺寸
本产品的法兰连接尺寸符合国家标准GB9115.7-88、GB9115.9-88、GB9115.19-88,PN64符合JB79-59。此连接尺寸与老产品的采用的JB78-59《铸铁法兰》,JB79-59《铸钢法兰》中的连接尺寸基本一致,可以套用,安装时不影响和老产品的更换。
表7 NBKVHP型和NBKVHM型气动调节阀法兰连接尺寸表
| 公称通径 DN | D | D1 | Z—φd |
| 15 | 95 | 65 | 4—φ14 |
| 20 | 105 | 75 | 4—φ14 |
| 25 | 115 | 85 | 4—φ14 |
| 32 | 135 | 100 | 4—φ18 |
| 40 | 145 | 110 | 4—φ18 |
| 50 | 160 | 125 | 4—φ18 |
| 65 | 180 | 145 | 4—φ18 |
| 80 | 195 | 160 | 8—φ18 |
| 100 | 215 | 180 | 8—φ18 |
| 125 | 245 | 210 | 8—φ18 |
| 150 | 280 | 240 | 8—φ23 |
| 200 | 335 | 295 | 12—φ23 |
| 250 | 405 | 355 | 12—φ26 |
| 300 | 460 | 410 | 12—φ26 |


法兰连接式 螺纹连接式
图3
表8 NBKVHP型和NBKVHM型气动调节阀外形尺寸表 单位:mmG3/4″
| 公称 通径 DN | A | L | H | H1 | 重量 Kg (参考) |
| PN6 PN16 | PN 40 | PN 64 | 常 温 | 中 温 | PN 6 | PN 16 | PN 40 | PN 64 | PN6 PN16 | PN40 PN64 |
| 气关 | 气开 | 气关 | 气开 |
| G3/4″ | 236 | 120 | 120 | 120 | 253 | | | 31 | 31 | 31 | | 11 | 12 |
| 20 | 285 | 181 | 194 | 206 | 393 | 406 | 549 | 556 | 45 | 52.5 | 52.5 | 62.5 | 19 | 23 |
| 25 | 184 | 197 | 210 | 410 | 417 | 560 | 567 | 50 | 57.5 | 57.5 | 67.5 | 20 | 24 |
| 32 | 204 | 230 | 245 | 448 | 455 | 598 | 605 | | 65 | | | 29 | 32 |
| 40 | 222 | 235 | 251 | 453 | 460 | 623 | 630 | 65 | 72.5 | 72.5 | 82.5 | 30 | 35 |
| 50 | 254 | 267 | 286 | 456 | 463 | 626 | 633 | 70 | 80 | 80 | 87.5 | 33 | 40 |
| 65 | 360 | 276 | 292 | 311 | 610 | 617 | 790 | 797 | 80 | 90 | 90 | 100 | 52 | 66 |
| 80 | 298 | 317 | 337 | 622 | 629 | 802 | 809 | 92.5 | 97.5 | 97.5 | 105 | 55 | 78 |
| 100 | 352 | 368 | 394 | 630 | 637 | 810 | 817 | 102.5 | 107.5 | 115 | 125 | 67 | 99 |
| 150 | 470 | 451 | 473 | 508 | 847 | 854 | 1067 | 1074 | 130 | 140 | 150 | 170 | 102 | 145 |
| 200 | 600 | 600 | 650 | 871 | 878 | 1091 | 1098 | 157.5 | 167.5 | 187.6 | 202.5 | 350 | |
| 250 | | 680 | 680 | 690 | 1220 | 1220 | 1520 | 1520 | 185 | 210 | 225 | 235 | | |
| 300 | 850 | 850 | 800 | 1310 | 1310 | 1610 | 1610 | 220 | 230 | 260 | 270 | 600 | |
八、调节阀的安装
调节阀安装不符合要求而出故障会造成巨大的浪费,反之,安装得当,可保证正常开工并可延长使用寿命。减少维修工作量和获得良好的系统控制性能。
1、 安装调节阀总体上应考虑以下方面:
(1) 安全:安装过程中人员和设备的安全。
(2) 控制性能:配管系统压力损失应与计算调节阀尺寸时所考虑的压力损失一致,以保证所需的流量特性。进出口应尽量保证足够的直管段。
(3) 安装位置:应有足够的空间便于操作人员手动操作(包括旁路操作)以及保证调节阀和附件的就地拆卸和维修的可能性。
(4) 调节阀组:一般在工艺过程配管中均安装切断阀的旁路阀与调节阀配成阀组,以适应设备连续操作的需要。维修调节阀时用切断阀隔离。用旁路阀调节。下面图4中推荐四种调节阀组布置方式。
图4 b方式中调节阀亦可装在虚线位置
2、 安装人员首先应认识到调节阀是一种精密的仪器设备,不准碰撞跌摔,以免损坏。具体注意以下几点:
(1) 阀最好正立垂直安装在管道上。阀自重较大和有震动场合应加支承架。
(2) 阀体要避免因前后配管或调和的法兰严重不同轴而受到过大的应力。
(3) 在初次开工前和停工检修后应先冲洗配管系统后装调节阀。或在阀前安装过渡滤口。
(4)必按照阀体上流动方向的箭头安装调节阀。
九、调节阀的维修
当调节阀在使用中不能满足操作要求,或者经过一段长时期的运行为了预防事故发生而作定期检查时,都必须认真地对它进行维修工作。维修工作通常有如下主要内容:
1、阀的清洗
检修从工艺管线上拆卸下来的阀,必须把它上面所有被工艺介质浸渍过的零部件清洗干净。以免某些有腐蚀性或其他伤害作用的流体对人和设备造成损失。同时应清除零部件外露表面的锈蚀。
2、阀的拆卸
为了对全体零部件作检查以决定修理和更换的范围。首先应把执行机构和阀完全卸开。拆卸时必须保
护好经过精密加工如阀芯、阀座、阀杆、推杆、轴套等零件以及所有零部件的精密加工面,防止损坏,以使检修费用最低,拆卸阀座应该用专用工具。
3、主要零部件的检修
阀芯的节流表面以及阀芯和阀座的密封面如有小的锈斑和磨损。尚可用一般的机械加工和研磨方法来修。如果损坏严重,则必须更换新的零件。修理时要求保证好阀芯和阀座的同轴度。
阀杆的密封表面损坏只能用新的零件替换。
推杆的导向和密封表面的损坏。对反作用执行机构必须更换新零件。而对于正作用执行机构尚可作适当修理。
压缩弹簧在检修时,如发现裂纹等影响强度的缺陷。则必须用新的替换。
4、易损件的更换
本调节阀的易损主要是:填料、O形密封圈、垫片、膜片等零件。
每次检修时经拆卸的填料、O形圈、垫片一律更换新件,膜片拆下后需要检查是否有预示可能发生破裂的任何裂纹、老化和磨损的痕迹、再视具体情况决定更换与否。一般至多2~3年必须更换。
5、成装和调试
成装时在零部件的定位部位,导向部位,螺纹连接部位宜涂加适当的润滑脂,以利于下次检修拆卸。而且还应特别注意整机中推杆、阀芯部件和阀座的同轴度问题。
成装和调试完毕后,必须通过标准中规定的产品出厂试验项目测试合格后方能继续安装使用。
十、保 管
调节阀应贮藏在空气温度为5~40℃,相对温度不大于90%的室内,空气中应不含有腐蚀调节阀的有害成份。
十一、订货须知
1. 型号
2. 公称通径、阀座直径
3. 额定流量系数
4. 公称压力和法兰连接型式
5. 工作温度
6. 阀的开关方式(气关式或气开式)
7. 固有流量特性
8. 阀体及阀内件材料
9. 附件(定位器、减压器、手轮机构等)</p