一、概述
Q911电动内螺纹球阀适用于两位切断、调节的场合。阀与执行机构的连接采用直连方式,电动执行机构内置伺服系统,无须另配伺服放大器,输入4-20mA信号及220VAC电源即可控制运转。具有连线简单,结构紧凑、尺寸小、重量轻、阻力小、动作稳定可靠等优点。执行机构可根据用户要求另配置UNIC、PSQ、HQ、DHL等型号电子式电动执行机构或GTX、AL等气活塞式执行机构。
二、执行标准
1、设计与制造:GB12237-89、API608、API6D、JPI7S-48、BS5351、DIN3357。
2、结构长度:GB12221-89、ANSIB16.10、JISB2002、NFE29-305、DIN3202。
3、检验主试验:JB/T9092、API598。
三、电动球阀规格参数
| 执行机构技术参数 | 阀体参数 |
| 电源 | AC200/220V,50/60Hz | 公称通径 | DN10~100mm |
| 输出力矩 | 50N.M~2000N.M | 公称压力 | PN1.62.54.06.431.5MPa(定制) |
| 动作范围 | 0~90°0~360° | 泄漏量 | 软密封:零泄漏 |
| 动作时间 | 15秒/30秒/60秒 | 执行机构 | 可另配PSQ、HQ、UNIC、361RS等 电子式电动执行机构 |
| 保护装置 | 过热保护 | 流量特性 | 快开特性 |
| 环境温度 | -30°~60° | 可调范围 | DN10-80 |
| 250:1 |
| 手动操作 | 同附带手柄操作 | 基本误差 | ±1% |
| 限位 | 电气、机械二重限位 | 死区 | ≤1% |
| 防护等级 | 相当于IP-65 | 回差 | ≤1% |
| 位置测量 | 可选装开关或电位计 | 适用温度 | 密封面 |
| 驱动电机 | 8W/E | PTFE≤150℃ RTFE≤180℃ PPL≤300℃ |
| 进线接口 | PE1/2进线线锁 |
执行机构可直接接收计算机或工业仪表等输出的4~20mADC或1~5VDC控制信号,220VAC电源,根据阀位反馈信号与设定值比较偏差对执行机构驱动电机进行智能步距调整(PID调节),以实现与执行机构配套的阀门或其他装置开度的精确定位,同时输出4~20mADC的位置反馈信号。其核心控制部件电子式伺服控制器应用现代数字技术,对DCS/PLC规范设计而成,集信号采集、处理、反馈、控制于一体。采用独创的电子制动电路并附加机械阻尼装置消除惯性,可瞬时停机,定位时无振荡,定位精度可达0.3%以上。可控硅输出,动作时间快,输出稳定,可靠性高。体积小,轻便宜人,性能可靠,配套简单,流通能力大,特别适合于介质是粘稠,含颗粒,纤维性质的场合。目前该阀广泛应用于食品,环保,轻工,石油,造纸,化工,教学和科研设备,电力等行业的工业控制系数。
三、技术参数和性能
试验压力 (Mpa) | 公称压力(Mpa) | 压力级(class) | JIS(Mpa) |
| 1.6 | 2.5 | 4.0 | 6.4 | 10.0 | 150 | 300 | 600 | 10K | 20K |
| 强度试验 | 2.4 | 3.8 | 6.0 | 9.6 | 15.0 | 3.1 | 7.8 | 15.3 | 2.4 | 3.8 |
| 密封试验 | 1.8 | 2.8 | 4.4 | 7.0 | 11.0 | 2.2 | 5.6 | 11.2 | 1.5 | 2.8 |
| 气密试验 | 0.5~0.7 |
四、主要零件材质
| 连接方式 | 内螺纹连接 | 对焊连接 |
| 零件名称 | 阀体阀盖 | WCB | CF8(304) | CF8M(316) | WCB | CF8(304) | CF8M(316) |
| 球体、阀杆 | 2Cr13 | 0Cr19Ni9 | OCr17Ni12Mo2 | 2Cr13 | 0Cr19Ni9 | OCr17Ni12Mo2 |
| 密封圈、填料 | 增强聚四氟乙烯、对位聚苯 |
| 适用工况 | 适用介质 | 水、蒸汽 、油品等 | 硝酸等腐 蚀性介质 | 醋酸等腐 蚀介质 | 水、蒸汽 、油品等 | 硝酸等腐 蚀性介质 | 醋酸等腐蚀介质 |
| 适用温度 | -29~180°C(增强聚四氟乙烯)、-29~300°C(对位聚苯) |
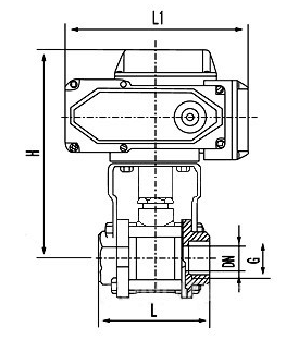
五、Q911电动球阀主要外形和连接尺寸(配KWR系列电动执行器)
连接尺寸及重量
| 公称通径 | 内螺纹连接 | 对焊连接 |
| mm | inch | D | L (mm) | H | 管螺纹G | B | 重量 (Kg) | 尺寸(mm) | 重量 (Kg) |
| L | D1 | D2 |
| 10 | 3/8 | 10 | 60 | 57 | 3/8″ | 95 | 0.34 | 70 | 10 | 18 | 0.32 |
| 15 | 1/2 | 15 | 75 | 68 | 1/2″ | 110 | 0.47 | 75 | 15 | 24 | 0.48 |
| 20 | 3/4 | 20 | 80 | 70 | 3/4″ | 110 | 0.68 | 90 | 20 | 28 | 0.68 |
| 25 | 1 | 25 | 90 | 80 | 1″ | 140 | 1.2 | 100 | 25 | 34 | 1.2 |
| 32 | 11/4 | 32 | 110 | 85 | 11/4″ | 140 | 1.9 | 110 | 32 | 41 | 1.9 |
| 40 | 11/2 | 38 | 125 | 100 | 11/2″ | 180 | 2.7 | 128 | 38 | 49 | 2.7 |
| 50 | 2 | 50 | 144 | 110 | 2″ | 180 | 3.9 | 154 | 50 | 62 | 3.8 |
| 65 | 21/2 | 64 | 186 | 130 | 21/2″ | 200 | 7.1 | 193 | 64 | 78 | 7.0 |
| 80 | 3 | 78 | 206 | 150 | 3″ | 250 | 11.5 | 222 | 78 | 94 | 11.4 |
| 100 | 4 | 98 | 240 | 170 | 4″ | 250 | 20.5 | 273 | 98 | 124 | 20.3 |
●开关灵活,密封性能可靠,可根据用户要求提供ISO5211标准顶法兰,方便用户改变驱动方式,使用寿命长。